Chat
Telegram WhatsApp
меню
+7 (903) 352-63-33
Ежедневно с 10:00 до 20:00
Сравнение
Избранное
Корзина
search
Ваш город: Аша
Раскрыт полностью сворачивающийся iPhone
18 июля 2023

Раскрыт полностью сворачивающийся iPhone 

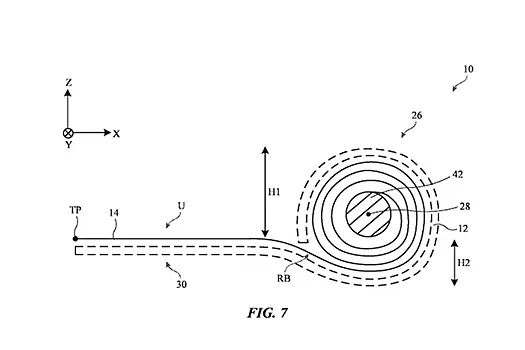
Американская компания Apple запатентовала технологию, которая позволит сворачивать смартфон iPhone в трубочку, будто он одеяло. Соответствующий патент опубликован на сайте профильного бюро США. 
Судя по данным в документе, патент был подан Apple в ноябре 2022 года, но опубликован только 13 июля. На чертежах показан сворачиваемый электронный дисплей для смартфона. 
В конструкции используется утонченное стекло и компоненты, создающие сжатие для защиты экрана при сворачивании.

В документе указано, что патент предназначен для обычных электронных дисплеев. Однако Apple отдельно отметила в заявке, что этот дизайн может быть использован для смартфонов.

Судя по всему Apple намерена применять технологию для разработки будущей линейки iPhone в новом форм-факторе, над которым, по слухам, уже работают такие компании, как Samsung и Motorola. Компания LG выпустила в продажу OLED-телевизор, который способен полностью складываться.

Samsung преуспела в разработке смартфонов со складными экранами. Компания известна двумя линейками — Galaxy Z Flip и Fold. Также подобные разработки развивает Huawei и другие китайские компании. Apple пока не заявляла об официальных планах по созданию «айфона» со складным экраном.

Ранее редкая модель iPhone была продана за рекордные 14,4 млн руб.